location_pin Get Directions
451 Fairbairn Road, Bobcaygeon, Ontario, Canada K0M 1A0
 

Hisun PArts

Parts
No
Old Part No
New Part No
Description
Price
QTY
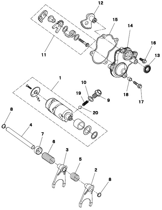
0
P004D00232000000
P004D00232000000
Drum,Shift
0
1
1
P004000231010000
P004000231010000
Shifting Fork ?
0
1
3
P004000231310000
P004000231310000
Shift Rail
0
1
4
P004000231070000
P004000231070000
Spring, R Gear
0
1
5
P004000231050000
P004000231050000
Spring,Hl Gear
0
1
6
P004000231060000
P004000231060000
Spring Seat,Shift Rail
0
1
7
BGB894112
BGB894112
Circlip For Shaft ?12
0
2
8
P003000233150000
P003000233150000
Hollow Bolts M14×1.5×21
0
1
9
PJ00000906020700
PJ00000906020700
Copper Washer 14×21×1
0
1
10
P0040002321A0001
P0040002321A0001
Shift Mechanism Assy
0
1
11
P0120002332A0000
P0120002332A0000
Fan Gear Shift Assy
0
1
12
PJ00000911011000
PJ00000911011000
Oil Seal 15×25×5
0
1
13
P004000114210000
P004000114210000
Shiftshaft Cover
0
1
14
P004000114220000
P004000114220000
Gasket,Shiftshaft Cover
0
1
15
BGB5787M620
BGB5787M620
Hexagon Flange Bolts M6×20
0
2
16
BGB5787M630
BGB5787M630
Hexagon Flange Bolts M6×30
0
2
17
PJ00000908020100
PJ00000908020100
Pin,Dowel 8×12
0
2
18
P002000233020000
P002000233020000
Spring 24×1
0
1
19
BGB30895
BGB30895
Steel Ball 9.5
0
1
Overview

Drum,Shift .

Drum,Shift of #:Engine - Shift Fork

Shifting Fork ? .

Shifting Fork Ⅰ of #:Engine - Shift Fork

Shift Rail .

Shift Rail of #:Engine - Shift Fork

Spring, R Gear .

Spring, R Gear of #:Engine - Shift Fork

Spring,Hl Gear .

Spring,Hl Gear of #:Engine - Shift Fork

Spring Seat,Shift Rail .

Spring Seat,Shift Rail of #:Engine - Shift Fork

Circlip For Shaft ?12 .

Circlip For Shaft ∅12 of #:Engine - SHIFT CAMFORK

Hollow Bolts M14×1.5×21 .

Hollow Bolts M14×1.5×21 of #:Engine - Shift Fork

Copper Washer 14×21×1 .

Copper Washer 14×21×1 of #:Engine - Shift Fork

Shift Mechanism Assy .

Shift Mechanism Assy of #:Engine - Shift Fork

Fan Gear Shift Assy .

Fan Gear Shift Assy of #:Engine - Shift Fork

Oil Seal 15×25×5 .

Oil Seal 15×25×5 of #:Engine - Shift Fork

Shiftshaft Cover .

Shiftshaft Cover of #:Engine - Shift Fork

Gasket,Shiftshaft Cover .

Gasket,Shiftshaft Cover of #:Engine - Shift Fork

Hexagon Flange Bolts M6×20 .

Hexagon Flange Bolts M6×20 of #:Engine - Shift Fork

Hexagon Flange Bolts M6×30 .

Hexagon Flange Bolts M6×30 of #:Engine - Crankcase

Pin,Dowel 8×12 .

Pin,Dowel 8×12 of #:Engine - Shift Fork

Spring 24×1 .

Spring 24×1 of #:Engine - Shift Fork

Steel Ball 9.5 .

Steel Ball 9.5 of #:Engine - SHIFT CAMFORK
Contact Information

 Contact Information

Hisun Parts


  NULL ,

Location